【課題】
浮揚体を浮揚させた水を、河川の水位の低下に伴い浮揚体の底部と収容空所の底部と間から取り残されることなく排水できる、堤防を提供する。

【解決手段】
基礎堤防部21の河川1側に設けられた導入導出水路10が、洪水時の河川の水位22の上昇に伴い河川1の泥水を収容空所20の底部11から浮揚体5の底部26と収容空所20の底部11との間に導いて浮揚体5を浮揚させかつ河川1の水位22の下降に伴い沈降する浮揚体5で押し出される泥水を収容空所20の底部11から河川1側に排水することにより、浮揚体5を浮揚させた泥水を河川1の水位22の低下に伴い収容空所20から取り残すことなく排水することができる。
【選択図】図2

【0001】
本発明は、集中豪雨等による洪水時において、河川の泥水等の水で浮揚体を基礎堤防部から浮揚させる堤防に関する。
【背景技術】
【0002】
特許文献1で開示された堤防は、基礎堤防部の片面側に、基礎堤防部と同一高さの基盤壁面とこの基盤壁面より前方に所定間隔で離れて設置された水位対応壁面との間に上方に開口した収容空所を形成し、この収容空所に昇降堤防柱を昇降可能に収容し、水位対応壁面側での水位が水位対応壁面より高くなり、水が水位対応壁面を乗り越えて昇降堤防柱と収容空所との間に入るのに伴い昇降堤防柱が基礎堤防部の天端より上昇することで、堤防の高さが高くなるようなっている。しかしながら、特許文献1で開示された堤防にあっては、水位対応壁面側での水位が水位対応壁面よりも低くなっても、一旦、水位対応壁面を乗り越えて昇降堤防柱と収容空所との間に入った水が水位対応壁面の高さ分だけ、昇降堤防柱と収容空所との間から排水されずに残るという欠点がある。
【先行技術文献】
【特許文献】
【0003】
【特許文献1】特許第5664888号公報
【発明の概要】
【発明が解決しようとする課題】
本発明は、上記背景技術に鑑みてなされたものであり、浮揚体を浮揚させた水を、河川の水位の低下に伴い浮揚体の底部と収容空所の底部と間から取り残されることなく排水することができる、堤防の提供を目的とする。
本発明は、河川に対して設置される基礎堤防部には収容空所が当該基礎堤防部の天端に開口しかつ当該開口から前記基礎堤防部の内部に窪むように設けられ、前記収容空所には中空な浮揚体が浮揚及び沈降可能に収容され、前記基礎堤防部の河川側には河川の水位が上がるのに伴い河川の水を前記収容空所の底部から前記浮揚体の底部と前記収容空所の底部との間に導いて前記浮揚体を浮揚させかつ河川の水位が下がるのに伴い沈降する前記浮揚体で押し出される前記浮揚体の底部と前記収容空所の底部との間に存在する水を前記収容空所の底部から河川側に排水する導入導出水路が設けられたことを特徴とする。
【発明の効果】
【0004】
本発明によれば、基礎堤防部の河川側に設けられた導入導出水路が、集中豪雨等による河川の水位の上昇に伴い河川の水を収容空所の底部から浮揚体の底部と収容空所の底部との間に導いて浮揚体を浮揚させかつ河川の水位の下降に伴い沈降する浮揚体で押し出される浮揚体の底部と収容空所の底部との間に存在する水を収容空所の底部から河川側に排水することにより、浮揚体を浮揚させた水を河川の水位の低下に伴い浮揚体の底部と収容空所の底部と間から取り残すことなく排水することができるという効果を奏する。又、浮揚体は集中豪雨等による洪水時にしか浮揚しないため景観を損なうことはない。
【図面の簡単な説明】
【0005】
【図1】発明を実施するための形態に係る堤防を示す断面図。
【図2】発明を実施するための形態に係る基礎堤防部の内部構造を示す断面図。
【図3】発明を実施するための形態に係る堤防の基礎堤防部に浮揚体を収容した断面図。
【図4】発明を実施するための形態に係る堤防の洪水時の動きを示す断面図。
【図5】発明を実施するための形態に係る基礎堤防部を示す平面図。
【図6】発明を実施するための形態に係る基礎堤防部の矢板壁天板蓋を示す平面図。
【図7】発明を実施するための形態に係る堤防の浮揚体の連結構造を示す平面図。
【図8】発明を実施するための形態に係る堤防の内部を基礎堤防部の長さ方向に切断した断面図。
【図9】発明を実施するための形態に係る堤防の洪水時の動きを示す基礎堤防部の長さ方向に切断した断面図。
【図10】発明を実施するための形態に係る浮揚体を示す平面図。
【図11】発明を実施するための形態に係る浮揚体を示す正面図。
【図12】発明を実施するための形態に係る浮揚体を示す左側面。
【図13】発明を実施するための形態に係る浮揚体を示す右側面。
【発明を実施するための形態】
【0006】
図1に示した発明を実施するための形態に係る堤防は、河川1に対して設置される基礎堤防部21に収容空所20が基礎堤防部21の天端23に開口しかつ天端23の開口から基礎堤防部21の内部に窪むと共に基礎堤防部21の長さ方向に延長するように設けられている。収容空所20には中空な浮揚体5が浮揚及び沈降可能に収容されている。浮揚体5は、外形が直方体であって、浮揚体5の内部に点線で示した閉鎖空間6を備えた中空になっている。閉鎖空間6は、閉鎖空間6に内部に存在する空気が浮揚体5の外部に漏れない閉じられた空間になっている。複数の浮揚体5が基礎堤防部21の長さ方向に互いに連結されて1つの収容空所20に浮揚及び沈降可能に収容されている。
【0007】
基礎堤防部21の河川1側には、導入導出水路10が設けられている。導入導出水路10は、河川1側の開口24と収容空所20の底部11側の開口25とを備える。導入導出水路10の開口24と開口25とを繋ぐ部分は基礎堤防部21の内部に設けられた暗渠になっている。導入導出水路10の開口24は、河川1の定常な水位22よりも上部に位置し、河川1の定常な流れの時は河川1の水が入らない位置に配置されている。
【0008】
導入導出水路10は、集中豪雨等で河川1の水位22が上がるのに伴い河川1の泥水等の水を収容空所20の底部11から収容空所20の底部11と浮揚体5の底部26との間に導いて浮揚体5を実線で示す位置から仮想線で示す位置へと浮揚させかつ河川1の水位22が下がるのに伴い仮想線で示す位置から実線で示す位置へと沈降する浮揚体5で押し出される浮揚体5の底部26と収容空所20の底部11との間に存在する水を収容空所20の底部11から河川1側に排水するようになっている。この導入導出水路10の構成により、浮揚体5を浮揚させた水が河川1の水位22の低下に伴い収容空所20の底部11と浮揚体5の底部26との間から取り残されることなく排水される。
【0009】
尚、河川1の水位22が定常な状態において、浮揚体5が収容空所20に沈降して収容された場合は、浮揚体5の上面と基礎堤防部21の天端23とが同じ高さとなって同一平面を構成し、浮揚体5の上面と基礎堤防部21の天端23とが人の歩行又は車の走行に支障を及ぼすことのないように1つの路面を構成している。
【0010】
以下、図2から図13を用いて発明を実施するための形態に係る堤防の細部について説明する。基礎堤防部21は、盛土構造又は鉄筋コンクリート構造により構成され、既に設置された既設又はこれから新たに設置される新設のいずれでも同様に適用可能である。
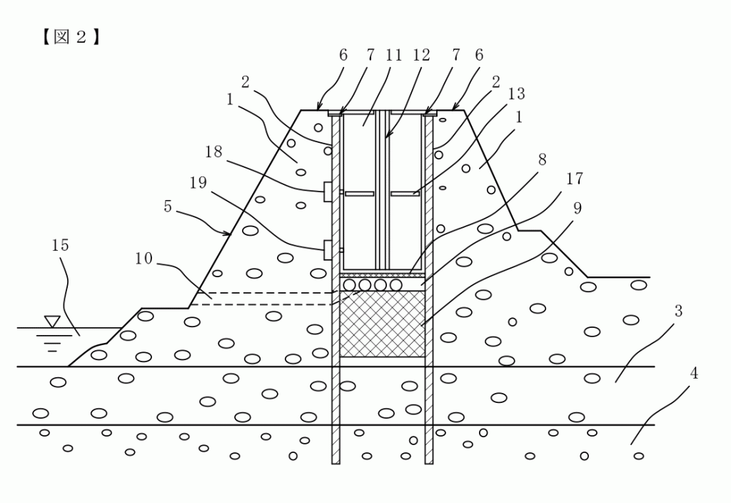
【0011】
図2に示すように、収容空所20の壁面を鋼矢板壁2で構成し、基礎堤防部21を補強している。鋼矢板壁2は、基礎堤防部21及び基礎地盤3を上下方向に貫通し、支持地盤4に根入れされたことにより、基礎堤防部21への補強が増加する。複数の鋼矢板壁2が、基礎堤防部21の長さ方向に連結されて連続的に設置されている。この基礎堤防部21の長さ方向に連結されて連続的に設置された複数の鋼矢板壁2は、基礎堤防部21の幅方向に所定間隔で離されて2列になっている。この2列になった複数の鋼矢板壁2の間が収容空所20になっている。
【0012】
鋼矢板天板蓋7は、基礎堤防部21の天端23よりも内部に凹んだ位置に配置され、鋼矢板壁2の天端に固着されて鋼矢板壁2の強度を増すものである。鋼矢板天板蓋7の上面と基礎堤防部21の天端23との間の凹部Bは、浮揚体5が収容空所20に沈降して収容された場合に、浮揚体5の上部の左右縁部から横方向に突出した浮揚体上側ストッパC(図12参照)を収容すると共に、浮揚体5の連結方向の前後縁部から横方向に突出した天端側ストッパ14を収容する部分である。
【0013】
タイロッド8は、左右に所定間隔を離して対向する鋼矢板壁2を互いに連結させることにより左右に対向する鋼矢板壁2の間の所定間隔を保つものである。
【0014】
コンクリート9は、収容空所20の底部11に構築され、導入導出水路10から収容空所20側に流入した泥水を収容空所20に集まり易くすると共に収容空所20に入った泥水を収容空所20から導入導出水路10に吐き出し易くするものである。
【0015】
共同溝17は、電気・通信・水道・ガス等を敷設するスペースである。導入導出水路10の出口側は、鋼矢板壁2及びコンクリート9を貫通している。
【0016】
位置検出センサー18は、鋼矢板壁2に設けられている。位置検出センサー18のセンサー部は、収容空所20に突出し、浮揚体5がどこまで浮いているかを電気的に検出した信号を出力する。水深検出センサー19は、鋼矢板壁2に設けられている。水深検出センサー19のセンサー部は、収容空所20に突出し、収容空所20に流入した水位を電気的に測定した信号を出力する。位置検出センサー18及び水深検出センサー19から出力された信号は複数の浮揚体5毎に設けられた制御盤とケーブルで接続されている。この浮揚体5毎に設けられた制御盤は、位置検出センサー18及び水深検出センサー19から受信した信号を無線で監視所に送ることができる。
【0017】
例えば、監視所では、位置検出センサー18及び水深検出センサー19からケーブル及び制御盤を経由して受信した信号を携帯電話回線で役場等に伝達し、役場から防災無線で避難情報として地域住民に伝達することにより、地域住民が適切に避難することができる。
【0018】
図3に示すように、鋼矢板壁2で仕切られた収容空所20に河川1からの水が入っていない状態において、浮揚体5が収容空所20に上から収容されるのに伴い、浮揚体上側ストッパCが凹部Bに取り込まれ、浮揚体5がそれ以上下降するこがなく、浮揚体5の底部26がタイロッド8に衝突することがないようにタイロッド8から上に離れていると共に共同溝17を確保することができる。
【0019】
図4に示すように、集中豪雨等で河川1の水位22が上昇し、河川1の泥水等の水が導入導出水路10から収容空所20に溜まり浮揚体5を浮かせる。このように浮揚体5が基礎堤防部21の天端23よりも浮揚することにより、河川1の水位22が基礎堤防部21の天端23を超えたとしても、河川1の泥水等の水が浮揚した浮揚体5で遮られるので、浮揚体5を越えて基礎堤防部21の天端23の側に溢流することがなく、河川1の氾濫を防ぐことができる。
河川1の水位22が下がるのに伴い、収容空所20に溜まった泥水等の水は導入導出水路10を経由して河川1に戻り、浮揚体5は図3に示す水が無くなった元の位置に戻る。
【0020】
図5に示すように、基礎堤防部21の収容空所20には、複数の鋼矢板壁2が、基礎堤防部21の長さ方向に連結されて連続的に設置されている。この基礎堤防部21の長さ方向に鋼矢板継手27で連結されて連続的に設置された複数の鋼矢板壁2は、基礎堤防部21の幅方向に所定間隔で離されて対向した2列になっている。この2列になった複数の鋼矢板壁2の間が収容空所20になっている。
【0021】
図6に示すように鋼矢板天板蓋7は、基礎堤防部21の長さ方向に連続的に設置されかつ基礎堤防部21の幅方向に所定間隔で離されて対向した2列になった鋼矢板壁2の1列毎に対し、複数の鋼矢板壁2の天端に固着させている。
【0022】
図7に示すように、浮揚体5の左側面中央部に凸型ガイドレール12a、右側中央部に凹型ガイドレール12bを固着し個々の浮揚体5の上下スライドを可能とし浮揚体5が上下スライドしても浮揚体5同士間の水漏れを防止するようになっている複数の浮揚体5は、凸形ガイドレール12aと凹形ガイドレール12bで繋がっているため、複数の浮揚体5個々の昇降動作が円滑となる。天端側ストッパ14は、鋼矢板天板蓋7にボルト等のねじ部材16で取り外し可能に固定されている。鋼矢板天板蓋7から浮揚体5の上昇を止めることにより、浮揚体5が収容空所20から抜け出ないようになる。又、ねじ部材16を外し、天端側ストッパ14を収容空所20から取り外することで、浮揚体5を収容空所20から上方に取り出し、浮揚体5及び収容空所20とその周囲を容易にメンテンナスすることができる。
【0023】
図8に示すように、凸形ガイドレール12aと凹形ガイドレール12bとが互いに上下方向に移動可能に嵌合され、複数の浮揚体5が基礎堤防部21の長さ方向に連続的に設置されている。
【0024】
図9に示すように、浮揚体5が基礎堤防部21の長さ方向に連続的に設置されていて、収容空所20に入った水で浮揚体5が浮き上がる場合、浮揚体5は、収容空所20に入った泥水等の水の水位15が上がるほど、浮揚体5は高さを増す。浮揚体5が浮揚しすぎると浮揚体下側ストッパ13a又は13bが天端側ストッパ14に当たり浮き上がることができなくなる。
浮揚体下側ストッパ13a又は13bが浮揚体5に図示されていないボルト等のねじ部材で取り外し可能に固着されていれば、図示のされていないねじ部材を外し、浮揚体下側ストッパ13a又は13bを浮揚体5から取り外することで、浮揚体5を収容空所20から上方に取り出し、浮揚体5及び収容空所20とその周囲を容易にメンテンナスすることができる。
【0025】
図10から図13に示すように、浮揚体5の左側面には凸形ガイドレール12aと浮揚体下側ストッパ13aとが固着されている。凸形ガイドレール12aは、浮揚体5の左側面の前後方向の中央部に位置して縦方向に延びている。浮揚体側ストッパ13aは,凸形ガイドレール12aを前後方向に挟んで凸形ガイドレール12aから前後方向に離れて分かれて浮揚体5の左側面の上下方向の中間部に位置して左側に突出している。
【0026】
浮揚体5の右側面には、凹形ガイドレール12bと浮揚体側ストッパ13bとが固着されている。凹形ガイドレール12bは、浮揚体5の右側面の前後方向の中央部に位置して縦方向に延びている。浮揚体側ストッパ13bは、凹形ガイドレール12bを前後方向に挟んで凹形ガイドレール12bから前後方向に離れて分かれて浮揚体5の左側面の上下方向の中間部に位置して左側に突出している。
【0027】
鋼矢板壁2の材料としてステンレス鋼、或いは、ステンレスクラッド鋼材を使うことにより鋼矢板壁2の耐用寿命が長くなる。
【0028】
尚、図10に示す浮揚体5の平面図の対称の図は、浮揚体5の底面図となる。又、図11に示す浮揚体5の正面図の対称の図は、浮揚体5の背面図となる。
【符号の説明】
【0029】
1 河川
2 鋼矢板壁
3 基礎地盤
4 支持地盤
5 浮揚体
6 閉鎖空間
7 鋼矢板天板蓋
8 タイロッド
9 コンクリート
10 導入導出水路
11 収容空所20の底部
12 ガイドレール
13 浮揚体側ストッパ
14 天端側ストッパ
15 河川水
16 ねじ部材
17 共同溝
18 位置検出センサー
19 水深検出センサー
20 収容空所
21 基礎堤防部
22 河川1の水位
23 天端
24 開口
25 開口
26 浮揚体5の底部
27 鋼矢板継手

